高压截止阀
时间:2023-07-19

HP9563R 高压截止阀适用高压管路,及其他高压多端装置及管路系统上
阀体采用锻压成型,具备更高的强度,外形美观。
采用非升杆式设计,O型密封圈可持久耐用
采用面板装置阀盖,可用与面板孔安装。
采用大型铝合金手轮,便于压力下低扭矩操作。
内部可旋转密封面均涂抹了意大利进口的高端PFPE密封润滑脂,具有良好的润滑性能和密封性能,大幅度提高了阀杆转动的灵活性和柔和性,同时也大幅度提高了其使用寿命。
技术参数:
*大工作压力380Bar,安全系数为4:1
温度范围-40°C~165°C
所有用于氧气的阀门都按CGA G-4.1的要求清洗过
100%通过工厂测试
进气口连接螺纹:1‘’-11.5NPSM R.H
出气口连接螺纹:1‘’-11.5NPSM R.H
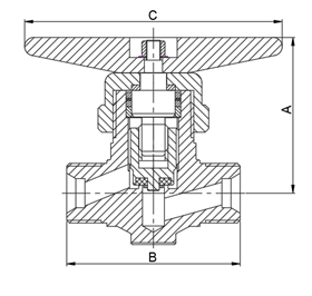
主要尺寸:A=86mm B=96mm C=140mm
材料选用
主体材质:阀体、阀盖、阀杆、阀座、阀杆密封环
采用优质黄铜(优质黄铜(HPb59-1)
手轮:铝合金
阀座填料:进口PCTFE
密封材料:FKM、进口PTFE
