不锈钢防错装万向接
时间:2023-07-20

产品介绍:
适用于氧气、氮气、氩气、氦气等介质
适用于高压软管与钢瓶阀之间连接,可360°方向旋转,具有连接简单便捷,快速高效,连接安全可靠,密封性高等优点。
防错装采用抛光304不锈钢,外观美观,质量可靠,使用寿命长等优点。
万向接螺母通过304不锈钢内六角平端紧定螺钉固定,便于可拆卸,及更换内部O型密封圈。
万向接中间连接的90°弯头采用黄铜棒锻压成型,采用了加厚加大型弯头,其材料密度*高,抗压系数*高,安全系数*高,使用寿命*长。
内部可旋转密封面均涂抹了意大利进口的高端PFPE密封润滑脂,具有良好的润滑性能,大幅度提高了万向接转动的灵活性和柔和性,同时也大幅度提高了其使用寿命。

技术参数
工作压力:300bar
进气口螺纹:1/4NPT
出气口螺纹:G5/8、CGA350等,
可根据客户需求定制不同规格型号
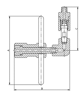
主要尺寸:A=165mm B=130mm C=108mm
材料选用:
防错装:SS304
万向接、90°弯头:优质黄铜(HPb59-1)
密封材料:FKM、进口PTFE